영국軍이 구상 중인 어벤져스 스타일의 미래 전쟁기술

지구 대기권 위 성층권에 기반을 둔 전투 무인항공기(드론) 기지, 뇌산호를 모방한 자율 잠수함, 수중 및 수상 드론 발사 자율 선박…

영국 해군이 바다와 하늘을 순찰하고 방어할 4종류의 미래 함정에 대한 상세한 개념과 함께 설명 도면을 공개했다.

향후 50년을 내다 보고 구상했다는 이 미래형 무기는 일견 터무니없어 보인다. 마치 마블의 어벤져스 영화속 얘기처럼 들린다.

하지만 인류 역사에서 상상력의 산물인 SF소설과 영화, 전쟁 속 기술은 현실로 반영되는 경우가 허다하다. 달나라 탐험선, 우주정거장, 잠수함, 정지궤도 통신 위성, 전자렌지, 컴퓨터, 암호화 기술, 소나 기술, 원자력발전소 등이 그런 예다.

▲자율 주행 수중선박인 ‘표면 전투선(Surface Combatant)’(왼쪽)과 지구 대기권 위 성층권에 기반을 둔 드론 기지인 ‘패스트 스트라이크(Fast Strike)’에서 발사되는 레일건 드론.(사진=영국 해군)

영국 해군이 생각하고 있는 미래형 전투함선 개발 비전 컨셉에서도 그런 요소들을 찾아 볼 수 있을 것이다. 미래 수중 드론에 사용되는 에너지 변환기는 어느 시점에 가서는 현실이 될지도 모른다.

성층권에 기반을 둔 드론 기지는 아마존이 수년전 미국특허를 낸 비행선 아이디어의 확장판으로 볼 수도 있다. 아마존의 특허도면을 본 일부 언론들은 무모한 아이디어(crazy idea)라고 했지만 그리 미친 아이디어만은 아닌 것처럼 보인다.

▲영국해군의 드론이 성층권 헬륨 풍선 기지인 패스트 스트라이크에서 발사돼 적의 해상전함을 타격하는 과정. (사진=영국 해군)

영국해군, 애플이 그랬던 것처럼 “다르게 생각하라”

실제로 우리는 과거 역사에서 사람들의 많은 허무맹랑한 상상력이 현실이 돼 온 것을 잘 알고 있다. 프랑스 소설가 쥴 베른은 아폴로11호가 달에 가기 꼭 100년 전에 ‘달나라 탐험(1869)’을 썼고 100년 만에 달나라를 가는 일이 ‘아폴로 11호(1969)’로 현실이 됐다. 게다가 현재 과학 발전 속도는 과거의 그 속도를 능가하고 있다. 구 소련은 최초의 (군사용)우주정거장인 살류트(1971~1986)를 쏘아 올렸다.

영국 해군이 이번에 발표한 미래 전투함선 아이디어 중 몇몇은 어벤져스: 엔드게임, 어벤져스:인피니티워, 또는 마블의 또다른 영화속 상상력의 세계와 크게 다르지 않아 보인다. 하지만 역시 현실이 될 수 없다고만은 할 수 없을 것이다.

▲영국 해군의 여러 미래 함선 아이디어는 마블이 제작한 영화 ‘어벤저스:엔드게임’, ‘어벤저스:인피니티 워 ’등에 등장하는 아이디어와 크게 달라 보이지 않는다. 사진은 지난 2012년 어벤저스에 등장한 헬리캐리어(Helicarrier). 패스트 스트라이크 컨셉과 닮아 있다. (사진= 월드디즈니)

닉 하인 영국 해군 부제독은 애플의 광고 문구로 너무나도 유명한 메시지를 인용하며 영국 해군 미래함선 비전이 나온 배경을 설명했다. 그는 “미래의 전쟁 시나리오에서 전통적 물량 조건으로 경쟁할 수 없다면 작전 상의 이점을 되찾기 위해 ‘다르게 생각’해야 한다”고 말했다. 또 “이 프로젝트에서 일한 젊은 기술자들은 급진적이고 실질적인 상상력으로 생각하고 있으며 이는 영국 해군이 어떻게 생각하고 있는지도 그대로 반영한다”고 덧붙였다.

그는 “중국과 미국 모두 감시활동을 위해 성층권에서 풍선을 사용하고 있으며, 그들이 무기화되는 것을 보기까지 그리 오래 걸리지 않을 것”이라면서도 “성층권 풍선에서 발사된 드론이 물속으로 들어가는 것은…좀 억지스러운 것 같다”는 생각을 밝히기도 했다.

▲성층권에 있는 패스트 스트라이크 기지는 태양광으로 전력을 얻어 작동한다. (사진= 영국 해군)

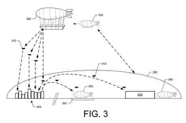
영국 해군이 최근 소개한 ▲지구 대기권 위 성층권에 기반을 둔 드론 기지인 ‘패스트 스트라이크(Fast Strike)’ ▲미래형 잠수함인 ‘수중 플랫폼(Underwater Platform)’ ▲‘운반 선박(Carrier Vessel)’ ▲외양 전투선(Surface Combatant)’을 차례로 살펴 봤다.

이 아이디어는 영국 해군과학기술부(UKNEST)이 주최한 향후 50년 동안 운용하게 될 자율 함대 아이디어 챌린지 행사에서 산업계와 학계의 젊은 기술자들로부터 나온 것이다. 영국 해군은 새로 공개된 개념들을 현실화하기 위한 예상 비용을 공개하지 않았다.

성층권에서 초음속으로 급강하하는 ‘패스트 스트라이크’ 드론

우선 ‘패스트 스타라이크(Fast Strike)’는 성층권에 위치하면서 태양광 에너지로 수년간 가동되는 거대한 헬륨 풍선으로 구성돼 있다.

영국 해군에 따르면 재래식 비행기 모양의 공격용 무인기가 눈깜짝할 사이에 성층권 패스트스트라이크 드론 기지에서 발사된다. 이러한 급속 타격용 드론은 빠른 대응 차원에서 최대한의 제어와 수평 조정을 위해 날개를 펼치기 전 극초음속으로 급강하하게 된다.

그들은 적함에 충돌하기 전에 수면 바로 위로, 또는 보이지 않도록 물 바로 아래로 ‘반쯤잠긴 스텔스’ 모드로 미끄러져 들어가 적함을 파괴하게 될 것이다.

▲성층권에 기반을 두는 영국 해군의 전쟁용 드론 기지 구축 아이디어는 그리 터무니 없는 아이디어만은 아니다. 아마존이 수년전 미국특허를 낸 비행선 아이디어(사진)의 확장판으로 볼 수도 있다. 당시 아마존의 특허도면을 본 일부 언론들은 무모한 아이디어(crazy idea)라고 했지만 이젠 드론이 배송을 하고 있는 시대다. (사진=미특허청)

거대한 해양 포유동물 모양의 수중잠수인 ‘수중 플랫폼’

한편 ‘수중 플랫폼(Underwater Platform)’은 거대한 해양 포유동물의 모습을 하고 있어 바다를 순찰할 때 최소한의 사람만이 타게 될 것이다.

▲뇌산호충을 닮은 영국 해군의 미래 잠수함 컨셉인 ‘수중 플랫폼(Underwater Platform)’(왼쪽)은 육각 블록 형태의 ‘헥스블록’(왼쪽)을 방출한다. 이는 적함 공격이나 아군 함정 지원에 사용된다. (사진=영국 해군)

이 수중 주력 선박은 뇌산호를 모방한 디자인을 가지고 있는데 뇌산호는 인간의 뇌처럼 구형인데다 뇌주름을 닮은 표면을 가지고 있어 그렇게 불리는 산호다.

▲뇌산호충. (사진=위키피디아)

수중플랫폼은 필요에 따라 다른 목적으로 ‘헥스 블록(Hex Blocks)’이라고 불리는 장치를 발사하게 된다. 인도주의적인 원조나 감시를 위한 탑재물은 아군을 향하지만 공격용 무기가 탑재되면 적을 향하게 된다. 예를 들면 헥스 블록에 전자기 펄스(EMP) 장치가 탑재돼 작동되면 이 장치 근처에 있는 적군의 전자 시스템이 손상되거나 파괴된다.

▲헥스 블록은 무기와 탄약, 인도적 지원, 감시, 또는 적함에 전자기 펄스(EMP)를 방출하는 등 임무별로 목적에 맞게 다른 장치를 탑재하게 된다. (사진=영국 해군)
▲헥스 블록은 또한 ‘더 빠른 방향성을 가지고 운반’하기 위해 다른 블록과 결합해 ‘끈’형태를 만들어 이동할 수도 있다. (사진=영국 해군)

수면 위를 항해하는 삭막한 모양의 ‘운반선박’

‘운반선(Carrier Vessel)’으로 불리는 세 번째 컨셉 선박은 수면 위를 항해하는 삭막하고 검은 직사각형 선박으로 묘사된다.

▲수면 위를 항해하는 검은색 직사각형 모양의 ‘운반 선박(Carrier Vessel)’은 발사대에 다른 비행선(왼쪽위) 등을 배치한다. (사진=영국 해군)

선체의 윗부분은 이 배에 만들어진 드론과 인공위성 발사대다. 여기에는 또한 무거운 항공기의 이륙을 위한 램프도 설치된다. 이 선체는 양자 감지 기술인 ‘변형선체(morphing hulls)’ 이중 나선 모양의 풍력 터빈, 레이저와 홀로그램 투영을 위한 스테이션 등으로 채워지게 된다. 선내에서는 자동 수중 함선(AUV)과 유지보수 부품을 3D 프린팅 할 수 있다.

상부 갑판은 무기를 운반할 수 있는 드론처럼 차량의 크기에 따라 ‘다중 발사 방법’을 허용하게 될 것이다. 이 드론은 공격용 자체 소형 무인기를 발사할 수 있다.

▲자율형 수중선박(AUV)과 유지보수 부품들도 이 날렵한 운반선박에서 3D프린팅 될 것이다. (사진=영국 해군)
▲‘운반선박’은 이 무인 항공기처럼 무기를 탑재한 다양한 항공기들을 위한 해상 발사대가 될 수 있다. 발사된 비행체는 이후 작은 드론(왼쪽 위)을 발사할 수도 있다. (사진=영국 해군)

외양 전투선

마지막으로 수면을 미끄러져 가는 ‘외양 전투선(Surface Combatant)’이 있다. 영국 해군 요원들은 이 선체 밑에 붙은 소형 모듈형 소형 ‘거주가능 팟’(소형 수중 드론)을 타고 수면 전투선을 드나들게 될 것이다.

▲외양 전투선(Surface Combatant)’으로 불리는 선박은 수면위를 미끄러져 들어가 영국 해군 병사들이 들어갈 수 있는 거주가능한 팟(소형 수중드론)을 방출한다. 이 드론은 트리마란 형태인 외양 전투선의 날개 밑과 주 선체 아래에 보관된다. (사진=영국 해군)

3개의 몸체로 된 배인 트리마란 디자인을 닮은 이 선박의 날개와 주 선체 아래에는 스텔스 공격기능을 제공하는 소형 수중 드론이 붙게 된다. 이 드론은 해수면과 그 아래에서도 물 분사 추진에 의해 작동된다.

이들은 잠재적으로 수중 재생 에너지 충전소에서 전력을 얻을 수 있다. 심지어 선내 에너지 변환기를 사용해 플랑크톤과 다른 생체 물질들을 에너지로 변환할 수도 있게 될 것이다.

▲영국 해군은 외양 전투선이 공격 능력을 갖추게 될 것이라고 말했다. (사진=영국 해군)
▲외양 전투선 아래에 있는 소형 수중드론은 잠재적으로 수중 재생 에너지 충전 지점에서 충전하거나 탑재된 에너지 변환기를 사용해 플랑크톤과 다른 생체 물질에서 전력을 얻을 수 있다. (사진=영국 해군)

영국 해군을 위한 다른 개념 수준의 아이디어에는 '낮은 수준의 계획을 지원하기 위한' 인공지능(AI)을 늘리는 것도 포함돼 있다.

UKNEST의 젊은 엔지니어인 피오나 매킨토시는 모든 컨셉 디자인이 영국 해군 고위 장교들을 대상으로 한 프리젠테이션에서 미리 검토됐다고 말했다. 그녀는 “우리의 아이디어 중 일부가 미래 플랫폼에 통합되는 것을 볼 수 있길 기대한다”고 말했다.

영국 해군은 이미 만타 가오리를 본뜬 수중 드론을 만들어 적함과 적 잠수함 감시를 위해 배치한다. 영국해군은 곧 3D 프린팅된 날개와 지느러미가 장착된 가로 1m, 세로 1.25m 수중 드론인 ‘레이 드라이브(Raydrive)’를 군사정보 수집용으로 사용할 예정이라고 지난 7월 영국 더타임스가 보도했다.

영국 정부는 해저나 해안에서 작동할 이 혁신적인 감시 장치 개발에 10만 파운드(약 1억6000만 원)를 지원했다.

이 무인기는 물고기처럼 조용한 추진력 덕분에 물 속 선박 정보를 찾으며 돌아다니는 동안 거의 감지되지 않는다.

언젠가는 이 놀라운 미래 함선의 컨셉이 이뤄질 것이다. 그리고 이를 실현하기 위한 과정에서 차근차근 쌓여갈 기술적 성과가 기대된다.

이재구 기자

jklee@tech42.co.kr
기자의 다른 기사보기
저작권자 © Tech42 - Tech Journalism by AI 테크42 무단전재 및 재배포 금지

관련 기사

인플루언서 마케팅의 제2막…‘섭외’보다 ‘성과 구조’가 중요해졌다

인플루언서 마케팅이 다시 정의되고 있다. 이제 브랜드들은 단순 노출을 넘어 실제 영향력을 어떻게 검증할 것인지, 콘텐츠 반응을 구매 전환으로 어떻게 연결할 것인지, 한 번의 성과를 다음 캠페인에서도 반복할 수 있는지 묻고 있다.

"챗GPT가 뭐예요?" 골목상권의 잔인한 현실… AI 대전환 시대, 소상공인만 '섬'에 갇혔다

대기업 회의실에서는 'AI 에이전트'가 보고서를 쓰고, 사무직 직장인의 책상 위에서는 챗GPT가 엑셀 함수를 대신 짜준다. 그런데 지하철 두 정거장만 벗어나 골목으로 들어가 보면 풍경이 사뭇 다르다. 7평짜리 분식집 사장님은 여전히 손글씨로 매출 장부를 적고, 옆 미용실 원장님은 예약 손님 명단을 머릿속으로 외운다.

[현장] KOBA 2026서 확인했다, 'AI'가 바꾼 방송·미디어 환경

국내 최대 방송·미디어·음향·조명 전시회인 ‘KOBA 2026’이 12일부터 15일까지 서울 삼성동 코엑스에서 열렸다. 올해로 34회를 맞은 KOBA는 방송 장비 중심 전시에서 출발해 디지털 전환, 1인 미디어, OTT, XR, VFX를 거쳐 이제 AI 기반 제작 환경을 전면에 내세우는 산업 전시회로 확장됐다.

[인터뷰] 정우석 츄라이 대표 "망설이다 아는 맛만 사는 식품 이커머스, 공짜 시식으로 바꾸고 있습니다”

츄라이는 시식 전환율 27%대, 시식 지원금 100원당 127원대 수익이라는 초기 지표를 제시하고 있다. 마케팅 비용 없이 입소문만으로 2개월 만에 사용자 2452명을 확보했다는 점도 초기 검증 사례로 꼽힌다. 츄라이가 공략하는 시장은 단순한 온라인 식품 판매가 아니다. 먹어보기 전에는 알 수 없는 식품의 불확실성을 온라인 커머스 안에서 줄이는 경험형 유통 시장이다. 이에 테크42는 정우석 츄라이 대표를 만나 좀 더 자세한 이야기를 들어봤다.